Una anotación de IEEE Spectrum acerca de las vueltas que le están dando los ingenieros al nuevo cohete estadounidense ULA Vulcan para llevarlo a la vida, me ha traído el recuerdo de una vieja patente española realmente curiosa.

ULA Vulcan | Fuente |
En el mencionado artículo se hace referencia a una técnica de recuperación de cápsulas espaciales y similares denominada «recuperación en el aire» (mid-air retrieval). La idea es sencilla pero su ejecución tiene complicaciones. Veamos, se trata de recuperar un objeto en reentrada atmosférica en el aire por medio de aviones o helicópteros. El objeto, frenado por paracaídas, es capturado en pleno vuelo como si fuera un pez que muerde un anzuelo. La idea original se puso en marcha de manera práctica por primera vez el 19 de agosto de 1960 en el marco de la Misión Corona. En aquella ocasión una cápsula que contenía material fotográfico fue capturada en pleno vuelo por un avión C-119. Era el primer paso en un conjunto de pruebas sobre un sistema pensado para recuperar cápsulas en lugares con difícil asistencia en tierra.

Recuperación en vuelo, Misión Corona | Fuente |
En el siguiente vídeo se puede comprobar cómo la idea fue experimentada en diversas ocasiones y, también, cómo se trata de algo bastante aparatoso y complicado. Cazar al vuelo una cápsula espacial desde un helicóptero, por mucho que los paracaídas hayan frenado su velocidad, no es muy sencillo.
Ahora bien, viendo los esfuerzos para poder enganchar la cápsula desde el helicóptero, y uniendo esa imagen mental a las recientes aventuras de los cohetes de SpaceX y su recuperación controlada con retrocohetes, que de momento ha fallado en sus intentos, recordé que eso ya lo había visto antes. No sólo era algo ya imaginado, sino que iba mucho más allá de recuperar sondas. No fue el único en pensarlo, pero es alquien que aquí en TecOb ya es conocido. Se trataba del ingeniero español Arturo Estévez Varela, del que publiqué hace tiempo una semblanza a cuento de su famoso «motor de agua». Antes de explicar un poco la idea que patentó Varela sobre un método para recuperar cohetes y, así, poder reutilizarlos (el inventor pensaba entonces en la primera etapa de los Saturno V), veamos este recorte de una noticia publicada en La Vanguardia el viernes 1 de mayo de 1970 (página 9).

El sueño espacial de Arturo Estévez Varela terminó poco más o menos igual que su famoso «motor de agua», en nada, solo que en este caso la idea tenía cierto aire de futurismo factible. No deja de tener atractivo el poder recuperar cohetes, al modo SpaceX, pero no como se plantea ahora, sino con una especie de juego de hélices «autogiro» en la parte más elevada del mismo. En la patente española ES-0371764, de 1969, titulada «Un plano ala dividido en tres partes, una parte productora de fuerza motriz, otra de sustentación y la tercera de estabilización», el inventor planteaba lo siguiente:
…era necesario reunir en el sistema un medio automático de frenado y paralización casi total, en la atmósfera, del objeto a recuperar y que el mismo se automotrice operándose en él la energía necesaria sin necesidad de gasto de combustible alguno. Después de innumerables pruebas conseguí un medio que nos proporciona la energía suficiente para desarrollar el movimiento de rotación necesario en cada caso de todo el sistema de estabilización. Y que este movimiento se pudiera acelerar, retardar y frenar, cuando interesara a los encargados de la recuperación, bien sea esta ordenada desde el centro de recuperación o desde dentro del vehículo cuando este sea tripulado. Para los no tripulados la manipulación de frenado y recuperación se hace electrónicamente…

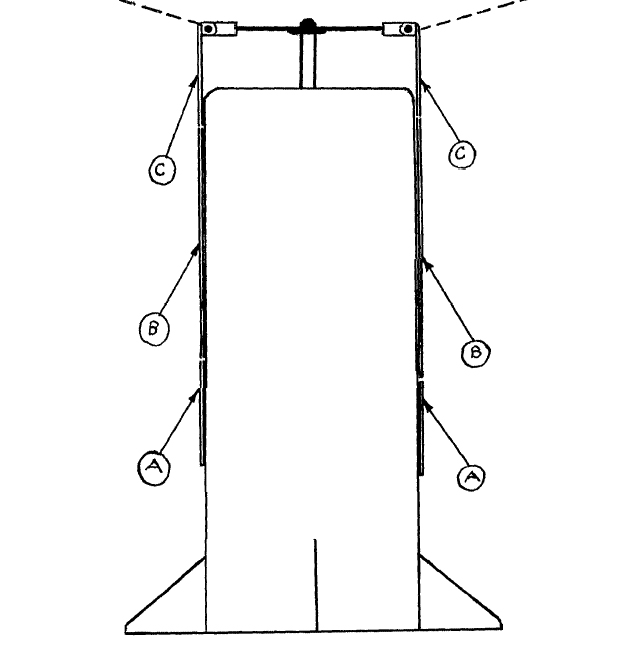
Uno de los esquemas de la patente ES-0371764 de Estévez Varela. (A) Plano-ala motriz. (B) Plano-ala adaptable de sustentación y control. (C) Plano-ala adaptable de frenado. (Consultar PDF para detalles).
