
Albert Einstein es asociado, sin duda alguna, con la física teórica. Sin embargo, es menos conocido que alrededor de cincuenta patentes de diversos países llevan su nombre, por lo general en colaboración con amigos. Hace ya más de una década que publiqué un artículo acerca de los refrigeradores que Einstein inventó junto al físico Leó Szilárd.
Albert, como es bien conocido, trabajó entre 1902 y 1909 junto con su amigo el ingeniero Michele Besso en la Oficina Federal de Patentes de Berna, en Suiza. Aquella experiencia como examinador de patentes le sirvió en 1915 para ser llamado como perito experto en un litigio judicial en el que se dirimía si una empresa estadounidense estaba infringiendo los derechos de patente de un inventor alemán sobre un tipo de girocompás.

Las incursiones de Einstein en el terreno de la ingeniería fueron más allá de su labor pericial y de las patentes sobre refrigeradores. Todavía en su estancia en Berna, en las animadas tertulias de la efímera «Academia Olimpia», Albert inventó junto con varios de sus amigos cierto voltímetro pensado para medir diferencias de potencial muy pequeñas. El aparato no fue patentado, pero sí difundida su existencia en un artículo y comercializado de manera limitada. Muchos años más tarde, en 1935, Einstein patenta, junto con el radiólogo Gustav Bucky, un mecanismo que permitiría a las cámaras fotográficas gozar de un diafragma de ajuste automático ante las condiciones de luz gracias al uso de una célula fotoeléctrica. Por cierto, Bucky también fue compañero de otras aventuras, como la del diseño de prendas de vestir resistentes al agua).
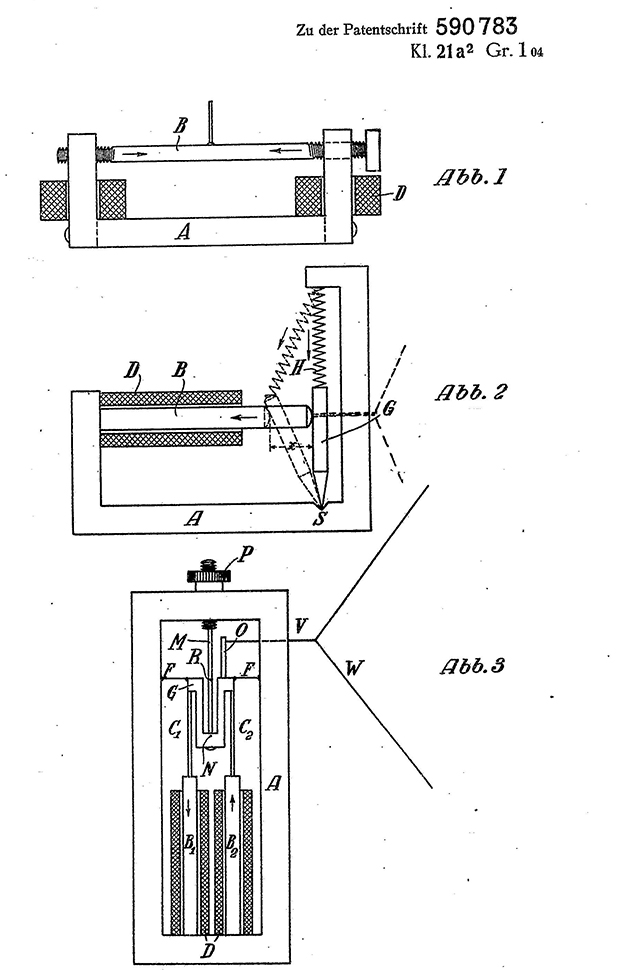
Ahora bien, lo que quiero resaltar hoy en estas letras fue otra patente, la de un «audífono» que guarda una historia curiosa. En esta ocasión el compañero de aventuras fue el ingeniero Rudolf Goldschmidt, reconocido en su tiempo por sus diseños de generadores que eran empleados en potentes estaciones de radio, así como por sus muchos inventos en el campo de la radiodifusión, como la rueda tonal. Goldschmidt dirigió un laboratorio de investigación en Berlín, lugar que era frecuentado por Einstein dada su amistad con el ingeniero. De su colaboración surgió una patente común sobre un audífono (originalmente estaban trabajando ya sobre la idea de crear micrófonos magnetostrictivos), que vio la luz en 1934 tras varios años de estudios. La necesidad del invento había surgido porque cierta cantante, Olga Eisner, otra amistad de Albert, comenzaba a padecer de sordera. Aquello conmovió a Einstein, quien propuso a Goldschmidt construir un audífono avanzado. El modelo final (patente alemana 590.783 – PDF) estaba constituido por una fina lámina metálica colocada sobre la porción mastoidea del hueso temporal, bajo la piel. Esta lámina vibraría por magnetostricción en presencia del campo magnético generado por un electroimán externo, que haría las veces de generador de impulsos. Aunque en principio no tuvo recorrido comercial, este audífono fue la semilla en la que Goldschmidt se inspiró para lograr modelos prácticos de audífono años más tarde.

Lecturas adicionales:
The Practical Einstein: Experiments, Patents, Inventions. József Illy.
Albert Einstein’s patents. Matthew Trainer.
Museo virtual de la OEPM – Albert Einstein
